您的位置首页百科知识

台湾台中区邮政编码是多少?

台湾台中区邮政编码是多少?

的有关信息介绍如下:

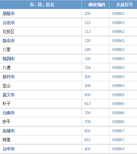
台湾台中邮政编码是400。

台中市,别名中市,是台湾中部的经济、交通、文化中心,建于清朝,公元1886年(清光绪十二年)曾一度为台湾首府,此区自2008年起便处于快速发展的状态。

台中的电话区号为:(+886)04;

台中的面积为:2214.8968平方公里;

台中的市花为:钟花樱桃

台中的市树为:台湾五叶松

台中的市鸟为:白耳画眉

台湾台中区邮政编码是多少?

扩展资料:

台湾其他地区邮政编码

台湾台中区邮政编码是多少?

南陵县、屏东县、台东县、金门县、云林县、澎湖县、台南县、宜兰县:

台湾台中区邮政编码是多少?

苗栗县、彰化县、台中县、花莲县:

台湾台中区邮政编码是多少?

我国的邮政编码采用四级六位数编码结构。前两位数字表示省(直辖市、自治区);前三位数字表示邮区;前四位数字表示县(市);最后两位数字表示投递局(所)。

台中市为台湾省的下辖市,台中市的邮政编码则是只有三位数,为400。

参考资料来源:百度百科—台中